Link: https://carbuzz.com/news/chevrolets-augmented-reality-head-up-display-will-make-road-trips-way-more-fun
Tra le tecnologie con il maggiore potenziale, le Case automobilistiche hanno cominciato a considerare con attenzione la realtà aumentata. Sebbene finora i campi d’applicazione siano parecchio limitati, i player della filiera convengono che sia rappresenti un’ottima risorsa, da sfruttare a pieno. Adesso, come dimostrano i documenti recuperati dalla testata CarBuzz, una svolta avrebbe intenzione di decretarla Chevrolet. Nello specifico, la celebre testata è risalita al brevetto presentato presso il competente ufficio tedesco.
Chevrolet: un modo tutto nuovo di sfruttare la realtà aumentata
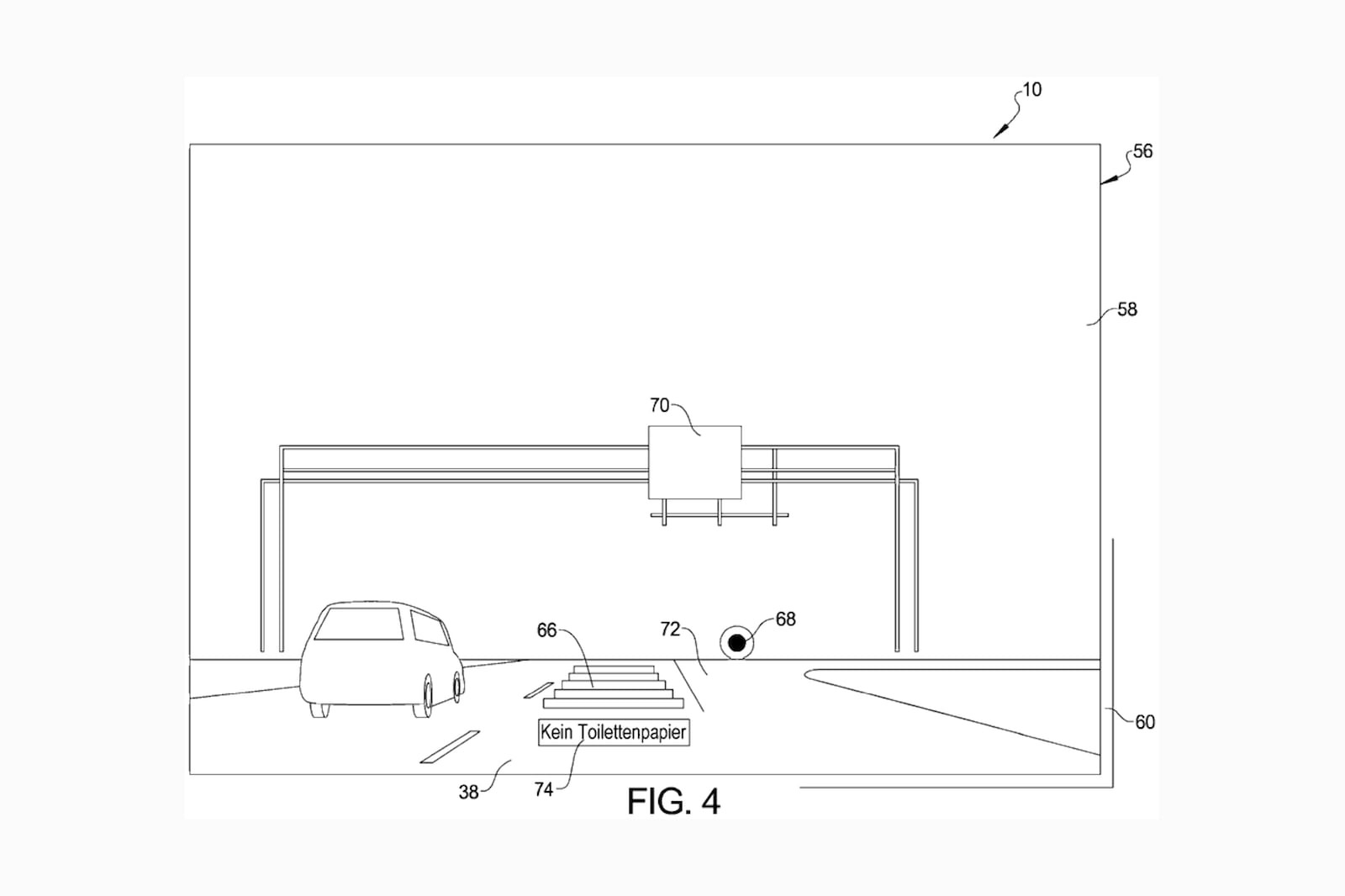
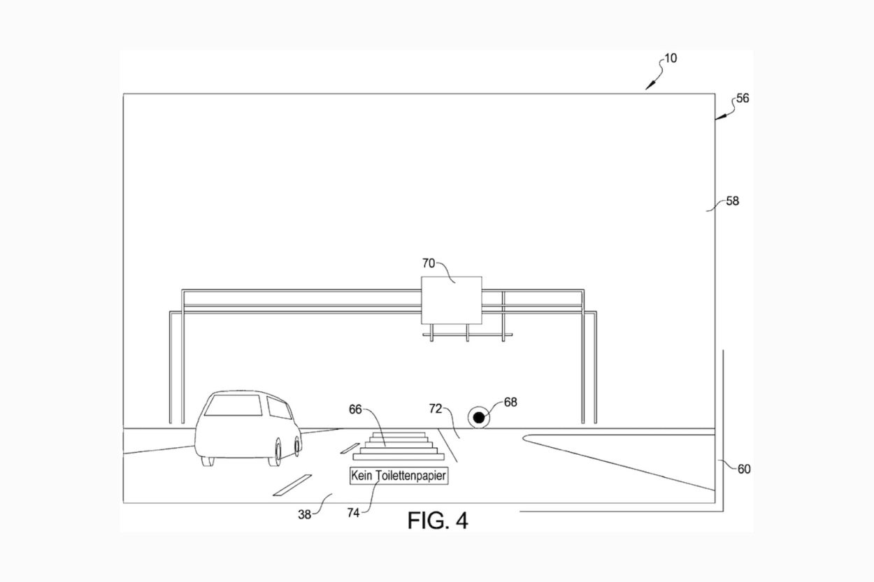
Scorrendo il materiale pubblicato è pressoché impossibile rimanerne indifferenti. Perché di carne al fuoco ce n’è parecchia e, se davvero uscisse sul mercato, i conducenti denoterebbero degli enormi miglioramenti nella loro esperienza di guida. Come ricostruisce il portale, Chevrolet ha intenzione di adattare la realtà aumentata alla mobilità in maniera innovativa, tesa a favorire una fruizione più efficace, intuitiva e divertente. In buona sostanza, l’idea del dipartimento informatico consiste nel raccogliere il materiale mediante una fotocamera, cosicché il tutto venga inviato attraverso un’interfaccia sviluppata ad hoc.
In aggiunta, i dati attinti verrebbero arricchiti da elementi audio e dalla localizzazione GPS. Diversi elementi in grado di contribuire alla percorrenza delle strade. Il giornalista paventa addirittura un domani dove il classico navigatore diverrebbe ormai desueto. Seppur costituisca una suggestione, l’ipotesi non è fantascienza. Al contrario, un automobilista avrebbe l’opportunità di trasformarsi pure in una sorta di guida e di fornire dei suggerimenti agli amici. E poi c’è il fatto che gli strumenti necessari sono meno di quanto viene da ipotizzare.
Difatti, anche se la soluzione è avveniristica, le risorse occorrenti le abbiamo già a disposizione. È sufficiente, infatti, disporre di un sistema a GPS, un Head-Up Display, microfoni e altoparlanti. L’intuizione avuta dagli uomini Chevrolet potrebbe illustrare una via inedita pure alle realtà concorrenti. Prima di darlo per certo, toccherà attendere delle comunicazioni ufficiali. Difatti, sebbene l’idea ci sia, tramutare i brevetti in realtà non è sempre un passo scontato.

