Probabilmente, mai come nell’epoca attuale, la competizione tra le Case automobilistiche è sfrenata. Ogni serio candidato alla vetta delle classifiche commerciali cerca di mettersi in mostra attraverso l’innovazione. Secondo quanto riferisce CarBuzz, Ford ha depositato un brevetto per il pannello posteriore dell’abitacolo di un pick-up, capace di ruotare verso l’alto. Meglio conosciuto col nome di portellone centrale, a Dearborn credono di poterlo bloccare in una determinata posizione per esporre la cabina al mondo esterno.
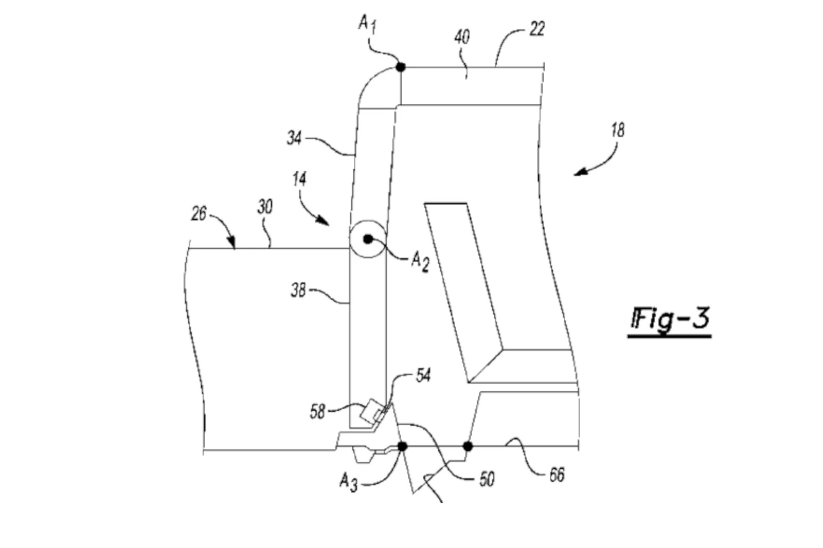
Il componente è costituito da due pannelli collegati al centro, che possono ruotare. In questo modo viene garantita sicurezza in posizione chiusa e numerosi vantaggi in quella aperta. Rispetto al primo pannello, evidenzia il Costruttore dell’Ovale Blu, la sezione inferiore può ruotare di oltre 90 gradi, permettendo al passeggero di godere di ombra quando desidera. Dai documenti consegnati all’Ufficio brevetti tedesco è possibile comprendere il suo funzionamento.
Ford, brevetto per il pannello posteriore dell’abitacolo del pick-up: sa ruotare verso l’alto

Guardando attentamente le immagini condivise, si nota che la soluzione di Ford potrebbe essere ideale per attività come il campeggio e il glamping, offrendo la possibilità di stare all’aria aperta con il comfort e i servizi di un hotel di lusso.

I sedili sono ripiegabili, offrendo agli occupanti una superficie per dormire, mentre il climatizzatore contribuisce a creare un ambiente rilassante. Ford apre la porta a possibili innovazioni future. Riusciranno a concretizzarsi? Come dice un vecchio adagio, chi vivrà vedrà.

Nel frattempo, l’idea del pick-up merita di essere tenuta sotto monitoraggio. Non è detto che venga applicata in una produzione di serie, ma i progettisti sicuramente l’hanno valutata. Senza stravolgere l’essenza del pick-up, quanto ideato sarebbe in grado di incrementare notevolmente il comfort a bordo.

Per quanto riguarda la batteria, state tranquilli per la durata. Già l’accumulatore della F-150 Lightning è sufficientemente potente da alimentare una casa per giorni, quindi un accampamento notturno non dovrebbe compromettere le prestazioni.