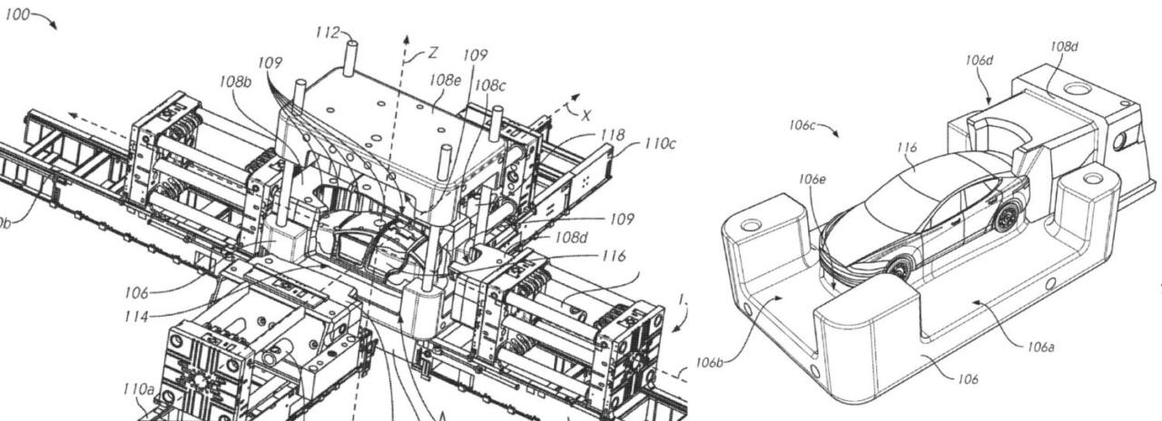
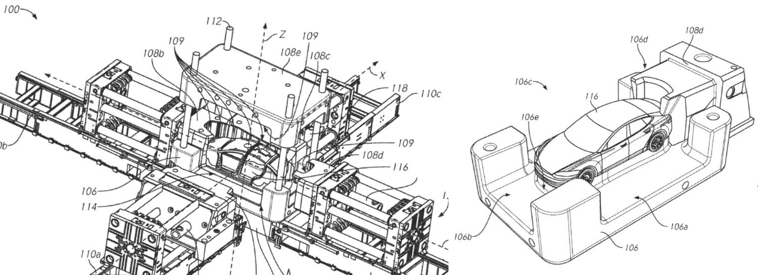
Tesla avrebbe ottenuto una nuova svolta tecnologica che potrebbe rivoluzionare il modo in cui produce i suoi veicoli elettrici e aiutare Elon Musk a raggiungere il suo obiettivo di dimezzare i costi di produzione, secondo un nuovo rapporto interno. La società ha introdotto l’uso di enormi presse con una pressione di chiusura da 6.000 a 9.000 tonnellate per modellare le strutture anteriori e posteriori delle sue auto in un processo di “gigacasting” che aiuterebbe a ridurre notevolmente i costi di produzione. La casa americana però adesso sarebbe vicina a una ulteriore innovazione che le consentirebbe di stampare a pressofusione quasi tutta la complessa parte inferiore di un veicolo elettrico in un unico pezzo, invece dei circa 400 pezzi di un’auto convenzionale.
Tesla sarebbe vicina ad una svolta tecnologica per la produzione in un unico pezzo delle sue auto
Questa indiscrezione è stata riportata nelle scorse ore da Reuters che ha citato alcune persone a conoscenza della situazione che hanno confermato che la casa automobilistica di Elon Musk è davvero vicina a questa ulteriore innovazione del suo processo di produzione che potrebbe avere degli effetti davvero importanti sul modo in cui le auto elettriche del produttore americano vengono realizzate e soprattutto sui costi di produzione che in questo modo sarebbero ridotti di moltissimo.
A quanto pare, le persone informate dei fatti parlano di un unico grande telaio – che unisce le sezioni anteriore e posteriore con il sottoscocca centrale dove è alloggiata la batteria. Questo telaio potrebbe essere utilizzato nel piccolo veicolo elettrico di Tesla che la casa americana mira a lanciare con un prezzo di 25.000 dollari entro la metà del decennio. Tuttavia, il rapporto afferma che Tesla non ha ancora deciso di utilizzare la nuova tecnologia per il suo veicolo di prossima generazione, ma potrebbe prendere una decisione già questo mese. Reuters afferma che una delle innovazioni prevede l’utilizzo della stampa 3D e della sabbia industriale per creare gli stampi per la fusione, il che può ridurre i costi e il tempo necessari per apportare inevitabili modifiche agli stampi. Vedremo dunque quali novità arriveranno a proposito di ciò nel corso dei prossimi mesi.
