Porsche 911 GT3 RS, ecco la belva che sta testando Manthey-Racing Si sta attendendo una versione ancora più estrema della Porsche 911 GT3 RS, ma nel frattempo Manthey-Racing, il… 28 Marzo 2024
Porsche 911: in estate debutterà la versione ibrida Dopo mesi di speculazioni, Porsche 911 arriverà nel corso dell'estate in versione ibrida, insieme al restyling del modello. 12 Marzo 2024
Porsche richiama la 911 per i parabrezza che possono staccarsi in caso di incidente Richiamate oltre 8.000 unità di Porsche 911 negli USA 6 Marzo 2024
L’asta più “triste” del mondo, una raccolta di Porsche collezionate e mai toccate Qualche mese fa è stata annunciata la vendita all’asta della “The White Collection”, un prezioso tesoro di Porsche.… 12 Dicembre 2023
Generazione 992.2 per la Porsche 911, ma non è il solito aggiornamento Nelle passate generazioni della Porsche 911, la denominazione non ufficiale “2” è diventata il simbolo di un’importante pietra… 9 Dicembre 2023
Porsche 911 GT3 R Rennsport da oltre 1 milione di dollari Alla Reunion 7 della Rennsport, è stata annunciata la versione più recente della Porsche 911, chiamata GT3 R… 6 Dicembre 2023
Porsche 911 Turbo personalizzata dallo speciale programma Sonderwunsch Durante un festival svoltosi recentemente a Dubai, Porsche ha presentato una 911 Turbo personalizzata attraverso il suo programma… 3 Dicembre 2023
Porsche 911 GT3 R rennsport: la nuova supercar da oltre 600 CV La Porsche 911 GT3 R rennsport è una supercar da pista che prende ispirazione dalla nuova 911 GT3… 30 Settembre 2023
Porsche 911, che trasformazione! Così è perfetta per una Barbie Barbie ha trovato la sua auto perfetta: questa Porsche 911 sembra sposarsi alla perfezione con l'atmosfera dell'iconica bambola 23 Luglio 2023
Porsche 911 GT3 RS: suo il record tra le auto di serie a Road America Una Porsche 911 GT3 RS (serie 992) ha scritto il nuovo tempo record, fra le auto di produzione,… 15 Luglio 2023
Una Porsche 911 Turbo arsa dalle fiamme dopo l’incidente | Video La Porsche 911 Turbo regala emozioni di guida speciali, degne di un nucleo ristretto di modelli che segnano… 21 Giugno 2023
Una Porsche 911 Classic Club Coupé unica venduta a prezzo record La Porsche 911 Carrera della serie 996 non è fra le auto della razza più gettonate dai collezionisti,… 12 Giugno 2023
Porsche 911 Carrera RS 2.7: una belva stradale La Porsche 911 Carrera RS 2.7 è un mito, che occupa un posto centrale nel cuore di molti… 6 Maggio 2023
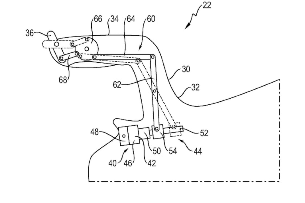
Porsche 911 GT3 RS: un capolavoro di ingegneria e design Se solo i brevetti potessero parlare… Scherzi a parte, per le grandi aziende automobilistiche registrare i diritti di… 29 Aprile 2023
Porsche 911 GT3 serie 997: emozioni al top Con la Porsche 911 GT3 serie 997, la casa di Stoccarda ha aggiunto un’altra perla alla sua collezione.… 28 Aprile 2023
Porsche 911: esemplare speciale alla Supercup coi VIP La Porsche 911 è un’auto con una naturale predisposizione per le corse. A fine novembre dello scorso anno,… 1 Aprile 2023
Ruf CTR Yellowbird: missile ruotato con prestazioni epiche La Ruf CTR Yellowbird del 1987 prese forma in pochi esemplari, ma non è questo a renderla speciale.… 29 Marzo 2023
Porsche 911: un restomod Theon Design per l’Italia Quelli di Theon Design hanno firmato un altro restomod su una Porsche 911, in modo indipendente dalla casa… 22 Marzo 2023
Porsche 911 Turbo S messa alla frusta da Mark Webber | Video Quelli di Top Gear France hanno scelto Mark Webber per spremere al massimo una Porsche 911 Turbo S… 5 Marzo 2023
Le auto sportive più economiche da 300 km/h Silenzio assordante. Lucida follia. E, giusto per richiamare la cultura pop, sole a catinelle. Che cos’hanno in comune?… 25 Febbraio 2023
Porsche Rennsport Reunion 2023: a Laguna Seca il meglio del marchio Porsche inizia la marcia di avvicinamento ad uno dei suoi eventi più importanti dell’anno, organizzato dalla filiale americana.… 19 Febbraio 2023
Porsche 911 Carrera RS 3.8 stella nello spot di Transformers al Super Bowl Chi ha seguito il Super Bowl 2023 forse non si è perso il nuovo spot televisivo di “Transformers… 14 Febbraio 2023
Porsche 911 GT3 Manthey Performance: giro da urlo al Nurburgring | Video Un video pubblicato nelle scorse ore su YouTube mostra una Porsche 911 GT3 Manthey Performance mentre aggredisce le… 10 Febbraio 2023